Weiter zum Inhalt
Abo
Werbung
Werbung
Werbung
Werbung
  1. Start
  2. /
  3. Superbike
  4. /
  5. Superbike WM
  6. /
  7. News
Werbung
Idee von BMW: Mehr Anpressdruck durch Luftkanäle
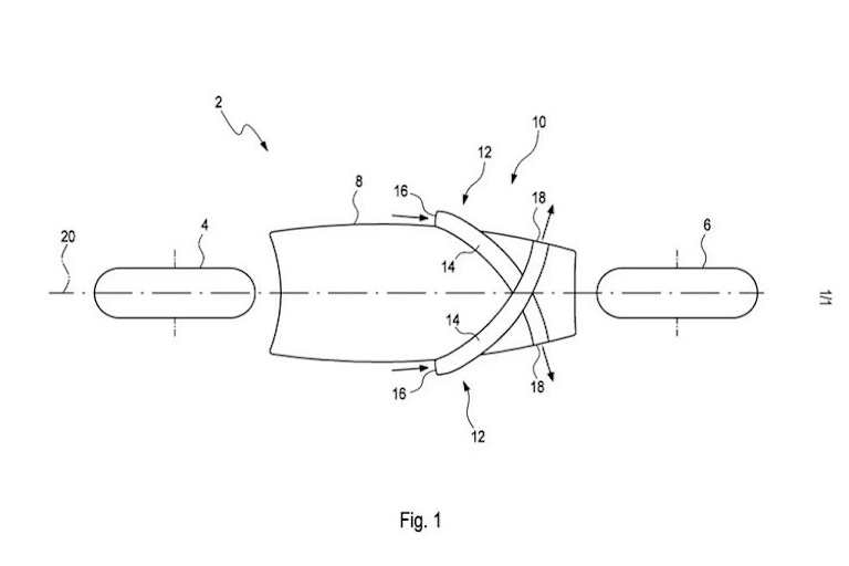
Die Patentzeichnung für das BMW-Superbike ist rudimentär, die Idee versponnen: In Schräglage sollen Kanäle anströmende Luft von der Unterseite der Verkleidung zur Oberseite leiten und so Anpressdruck erzeugen.
Superbike WM
Werbung
Alle MotoGP-Fans fieberten der Saison 2025 entgegen. Ein sensationeller Dreikampf mit Marc Marquez, Pecco Bagnaia und Jorge Martin war vorprogrammiert. Doch für zwei Piloten lief das Jahr komplett aus dem Ruder.
Weiterlesen
Werbung
Wir haben nur eine Patentzeichnung, welche skizzenhaft ein verkleidetes Motorrad von unten zeigt. Im hinteren Teil der Verkleidung gibt es an jeder Seite zwei Öffnungen. Diese münden in zwei sich überkreuzende Kanäle, die zur jeweils gegenüberliegenden Verkleidungsflanke führen und dort ins Freie führen. Luft wird also von der einen zur anderen Verkleidungsflanke geleitet.
Werbung
Werbung
Wozu das? Um Anpressdruck an der Front, um dem Hochsteigen des Vorderrads beim Beschleunigen entgegenzuwirken, kann es nicht gehen. Ebenso wenig um Kühlung, da sich die Kanäle hinter dem Motor befinden. Bei Geradeausfahrt entsteht allenfalls durch die Einlassöffnungen ein erhöhter Luftwiderstand, alle anderen Effekte der gleichschnellen Luftströme heben sich gegenseitig auf. Unser Erklärungsversuch: In großer Schräglage bildet sich zwischen Fahrbahn und Verkleidung ein Kanal, in dem der Luftstrom beschleunigt wird. Weil die Luft auf der Unterseite der Verkleidung schneller strömt als auf der Oberseite, entsteht eine Kraft, welche den Anpressdruck der Reifen und damit die Kurvengeschwindigkeit vermindert. Wird nun Luft von der Unterseite durch einen Kanal an die Verkleidungsoberseite geleitet, entsteht ein leichter Unterdruck, das Motorrad wird an den Boden gepresst, es sind wegen verbesserter Reifenhaftung höhere Kurvengeschwindigkeiten möglich. Durch einen sich verengenden Kanal und eine Auslassöffnung in Form einer Düse, kann der Luftstrom im Kanal beschleunigt und der Luftdurchsatz erhöht werden.
Werbung
Werbung
Aber da ist ja noch der gegenteilige Effekt durch den zweiten Kanal von der Verkleidungsoberseite zur anderen Seite. Dieser Kanal arbeitet aber weniger effizient, weil die Luft an der Verkleidungsoberseite langsamer strömt und zudem der Ram-Air-Effekt an der Ansaugöffnung kleiner ist, weil die Luft quasi besser ausweichen kann, weil da keine Fahrbahn ist.
Alle MotoGP-Fans fieberten der Saison 2025 entgegen. Ein sensationeller Dreikampf mit Marc Marquez, Pecco Bagnaia und Jorge Martin war vorprogrammiert. Doch für zwei Piloten lief das Jahr komplett aus dem Ruder.
Weiterlesen
An einer MotoGP-Maschine könnte BMW diese Kanäle einbauen, ohne jemanden um Erlaubnis fragen zu müssen, doch BMW konzentriert sich bekanntlich auf die Superbike-WM. An diesen Rennmaschinen können – mit reglementierten Ausnahmen – nur technische Lösungen verbaut werden, die auch am Serienmotorrad zu finden sind.
Mit dem Patent geht BMW den gleichen Weg wie Aprilia, wo man sich mehrere Lösungen patentieren ließ, damit sie von der Konkurrenz nicht für Serienmaschinen und damit für Renn-Superbikes verwendet werden können. Zu behaupten, BMW würde in den nächsten Jahrgang der M1000RR solche Kanäle einbauen, wäre reine Spekulation. Es wäre nicht das erste Mal, dass ein Hersteller eine Idee patentieren lässt und sie später wieder fallen lässt.
Werbung
Werbung
Schon gesehen?
Verpassen Sie keine Highlights mehr: Der Speedweek Newsletter liefert Ihnen zweimal wöchentlich aktuelle Nachrichten, exklusive Kommentare und alle wichtigen Termine aus der Welt des Motorsports - direkt in Ihr E-Mail-Postfach
Weiterlesen

Themen
  • Superbike WM
WM-StandVoller Stand
  1. Fahrer
  2. Teams
  3. Konstrukteure
202520242023
Pos
Fahrer
Team
Punkte
1
Toprak Razgatlioglu
ROKiT BMW Motorrad WorldSBK Team
616
2
Nicolò Bulega
Aruba.it Racing - Ducati
603
3
Álvaro Bautista
Aruba.it Racing - Ducati
337
4
Andrea Locatelli
Pata Maxus Yamaha
310
5
Danilo Petrucci
BARNI Spark Racing Team
284
6
Alex Lowes
bimota by Kawasaki Racing Team
218
7
Xavier Vierge
Honda HRC
185
8
Sam Lowes
Elf Marc VDS Racing Team
184
9
Andrea Iannone
Team Pata Go Eleven
166
10
Axel Bassani
bimota by Kawasaki Racing Team
140
Mehr laden
EventsAlle Superbike WM Events
  • Vergangen
    Aragon
    Motorland Aragón, Spanien
    26. - 28.09.2025
    Zum Event
  • Vergangen
    Estoril
    Autódromo do Estoril , Portugal
    10. - 12.10.2025
    Zum Event
  • Vergangen
    Spain
    Circuito de Jerez, Spanien
    17. - 19.10.2025
    Zum Event
  1. Vergangen
    Aragon
    Motorland Aragón, Spanien
    26. - 28.09.2025
    Zum Event
  2. Vergangen
    Estoril
    Autódromo do Estoril , Portugal
    10. - 12.10.2025
    Zum Event
  3. Vergangen
    Spain
    Circuito de Jerez, Spanien
    17. - 19.10.2025
    Zum Event
Superbike NewsAlle News
    Speedweek.com - Der beste Motorsport im Netz
    Die aktuellsten News rund um die Uhr, von Experten analysiert und kommentiert und exklusive Einblicke hinter die Kulissen. Hier schreiben Fans für Fans.
    Berichte & Analysen
    Redaktion
    Serien