Weiter zum Inhalt
Abo
Werbung
Werbung
Werbung
Werbung
  1. Start
  2. /
  3. Produkte
  4. /
  5. News
Werbung
Kawasaki patentiert elektrischen Supercharger
Ein Patent zeigt, wie Kawasaki einen Hybridantrieb, bestehend aus Benzin- und Elektromotor, mit einem Kompressor kombinieren will. Raffiniert, wenn auch nicht ohne Nachteile.
Produkte
Werbung
Alle MotoGP-Fans fieberten der Saison 2025 entgegen. Ein sensationeller Dreikampf mit Marc Marquez, Pecco Bagnaia und Jorge Martin war vorprogrammiert. Doch für zwei Piloten lief das Jahr komplett aus dem Ruder.
Weiterlesen
Werbung
Dass Kawasaki an einem Hybrid-Motorrad arbeitet, ist keine Neuigkeit. Als kritischer Geist fragt man sich jedoch, was es bringen soll, in einem Motorrad zwei nicht gewichtslose Antriebssysteme unterzubringen, wobei eines von beiden zumeist inaktiv ist und dann einfach spazieren gefahren wird.
Werbung
Werbung
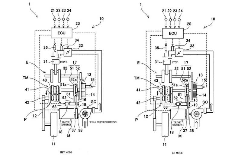
Nun sind Patentzeichnungen aufgetaucht, welche eine Entwicklungsrichtung, die Kawasaki verfolgt, aufzeigt. Im März dieses Jahres hat sich Kawasaki in Japan die Bezeichnung E-BOOST markenrechtlich schützen lassen. Kawasaki baut mit den Modellen H2R, H2, H2 SX und Z H2 bereits Motorräder mit mechanisch angetriebenem Kompressor, englisch Supercharger. Anstelle des mechanischen Antriebs, der von der Kurbelwellendrehzahl abhängig ist, könnte der Kompressor von einem unabhängigen Elektromotor angetrieben werden. So ist es möglich, dass der Kompressor seine leistungssteigernde Wirkung unabhängig von der Motordrehzahl entfaltet. Wie bei jeder technischen Lösung gibt es auch Nachteile: Es braucht einen zusätzlichen Elektromotor samt genügend starker Batterie und eine entsprechende Steuerelektronik. Das würde eher Sinn machen, wenn der Elektromotor darüber hinaus auch das Motorrad antreiben könnte, wenn wenig Leistung gefordert ist, zum Beispiel im Stadtverkehr. Das ist die Entwicklungsrichtung von Kawasakis E-Boost-Projekt.
Werbung
Werbung
Gemäss der Patentzeichnung von Kawasaki könnte so ein Motorrad in drei Modi betrieben werden. Im elektrischen Modus treibt der Elektromotor über eine Nebenkupplung die Getriebe-Eingangswelle an, der Verbrennungsmotor steht still, durch die Hauptkupplung getrennt vom Getriebe. Über diee Nebenkupplung kann das Getriebe gleichwohl geschaltet werden, es können auch im rein elektrisch betriebenen Modus die Gangstufen des Getriebes (in der Patentzeichnung deren fünf) genutzt werden.
Alle MotoGP-Fans fieberten der Saison 2025 entgegen. Ein sensationeller Dreikampf mit Marc Marquez, Pecco Bagnaia und Jorge Martin war vorprogrammiert. Doch für zwei Piloten lief das Jahr komplett aus dem Ruder.
Weiterlesen
Im Verbrenner-Modus treibt der Verbrennungsmotor das Motorrad und den Elektromotor an. Der Elektromotor läuft mit und treibt den Kompressor an, der im Ansaugtrakt einen leichten Überdruck erzeugt, in der Patentschrift "Weak Superchachging" genannt. Zur Geschwindigkeitsreduktion dient der Elektromotor, der im Rekuperationsbetrieb das Motorrad abbremst und die Batterie auflädt. Erst wenn hart verzögert werden muss, kommen die Bremsen zum Einsatz.
Soll ein Leistungsboost abgerufen werden, etwa zum Überholen, kuppelt sich der Elektromotor mit der Nebenkupplung von der Getriebeeingangswelle ab und bläst mit dem Kompressor mit erhöhter Drehzahl zündfähiges Gemisch in die Brennräume des Verbrennungsmotors. Resultat wäre ein deutlich spürbarer Leistungsschub. Die drei Betriebsmodi könnten sowohl vom Fahrer angewählt wie auch abhängig vom Fahrzustand von einer elektronischen Steuerung automatisch angewählt werden. Die Patentzeichnungen und ein vages Video zum Thema bestätigen nicht, dass Kawasaki ein solches Motorrad auf den Markt bringen wird. Es bedeutet lediglich, dass Kawasaki an einem solchen Motorrad arbeitet. Die gleiche Technologie könnte auch in der Mule-Modellreihe (kleine Vierrad-Nutzfahrzeuge), in Quads oder Jetskis eingesetzt werden, da in diesen Fahrzeugen das Gewicht des Antriebstrangs weniger entscheidend ist als beim Motorrad.
Werbung
Werbung
Gut möglich, dass wir im Oktober mehr erfahren werden. Am 1. Oktober 2021 will Kawasaki Heavy Industries Ltd im Zuge einer Umstrukturierung die Unternehmensbereiche Motorrad und Motorenbau wie auch den Fahrzeugbau (ATV, Mule) in separate Firmen auslagern und den Schiffsbau in den bestehenden Betriebszweig Kraftwerk- und Anlagenbau integrieren.
Schon gesehen?
Verpassen Sie keine Highlights mehr: Der Speedweek Newsletter liefert Ihnen zweimal wöchentlich aktuelle Nachrichten, exklusive Kommentare und alle wichtigen Termine aus der Welt des Motorsports - direkt in Ihr E-Mail-Postfach
Weiterlesen

Themen
  • Produkte
    Speedweek.com - Der beste Motorsport im Netz
    Die aktuellsten News rund um die Uhr, von Experten analysiert und kommentiert und exklusive Einblicke hinter die Kulissen. Hier schreiben Fans für Fans.
    Berichte & Analysen
    Redaktion
    Serien