Werbung

Werbung

Werbung

Werbung

Werbung

Suzuki tüftelt am Turbo-Motorrad: Patente eingereicht

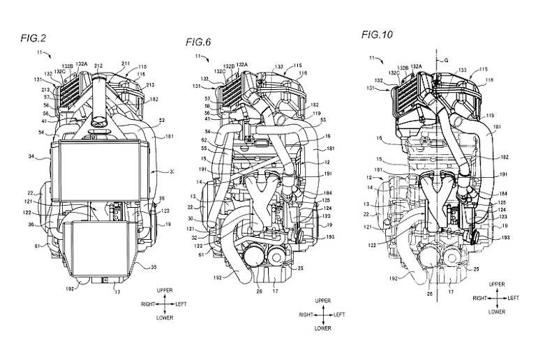
Suzuki hat in den USA 13 Patente für ein Motorrad mit Abgasturbolader eingereicht. Die Zeichnungen zeigen ein Zweizylinder-Supersport-Motorrad mit Gitterrohrrahmen. Schon 2013 wurde eine solche Studie gezeigt.

Rolf Lüthi

Von

Kurzer, kompakter Reihenzweizylinder im Gitterrohrrahmen ermöglicht eine lange Schwinge

Werbung

Werbung

Auf den Zeichnungen, die verschiedene Online-Magazine veröffentlichten, ist ein Zweizylinder-Reihenmotor mit etwa 650 ccm zu sehen. Der Turbolader ist vor dem Motor auf Höhe des Zylinderfußes platziert, was dank kurzer Wege des Abgasstroms ein spontanes Ansprechverhalten des Laders ergibt.

Werbung

Werbung

Etwas Besonderes ließ sich Suzuki mit der Ansaugluft einfallen: Der Lader saugt die Frischluft über die oberhalb des Zylinderkopfs platzierte Airbox an, in die auch der Luftfilter integriert ist. Die unter Druck gesetzte Ansaugluft gelangt über einen neben der Airbox platzierten Ladeluftkühler zu den Ansaugkanälen. Das Benzin wird konventionell in die Saugrohre eingespritzt. Die Airbox ist also quasi zweigeteilt in einen Ansaugteil (aus der Außenluft gefiltert vom Lader angesaugt wird) und einen Druckteil (vom Lader unter Druck gesetzte Luft gelangt vom Lader über den Ladeluftkühler in die Zylinder). Mit einem Ladeluftkühler lässt sich die Effizienz eines Turboladers und damit die Motorleistung erheblich steigern.

War die 2013 gezeigte Studie noch mit einem (voluminösen) Alu-Brückenrahmen ausgerüstet, ist in den aktuellen Zeichnungen ein Gitterrohrrahmen zu sehen, was Bauraum spart, der für die Nebenaggregate des Turboladers gebraucht wird.

Werbung

Werbung

Schon gesehen?

Verpassen Sie keine Highlights mehr: Der Speedweek Newsletter liefert Ihnen zweimal wöchentlich aktuelle Nachrichten, exklusive Kommentare und alle wichtigen Termine aus der Welt des Motorsports - direkt in Ihr E-Mail-Postfach


Themen

    Speedweek.com - Der beste Motorsport im Netz

    Die aktuellsten News rund um die Uhr, von Experten analysiert und kommentiert und exklusive Einblicke hinter die Kulissen. Hier schreiben Fans für Fans.