Weiter zum Inhalt
Abo
Werbung
Werbung
Werbung
Werbung
  1. Start
  2. /
  3. Produkte
  4. /
  5. News
Werbung
Honda patentiert Vorkammer-Zündung für Motorräder
Fireblade-Revolution? Honda hat sich eine Brennraum-Anordnung für Motorräder patentieren lassen, wie sie in ähnlicher Bauform in der Formel 1 seit 2014 verwendet wird.
Produkte
Werbung
Alle MotoGP-Fans fieberten der Saison 2025 entgegen. Ein sensationeller Dreikampf mit Marc Marquez, Pecco Bagnaia und Jorge Martin war vorprogrammiert. Doch für zwei Piloten lief das Jahr komplett aus dem Ruder.
Weiterlesen
Werbung
Als in der Formel 1 auf 2014 gleichzeitig mit der Beschränkung des Hubraums auf 1600 ccm ein Benzinlimit von 100 kg pro Rennen eingeführt wurde, kam das einer Reduzierung der Treibstoffmenge um rund einen Drittel pro Rennen gleich.
Werbung
Werbung
Eine solche Verbrauchsreduktion gelingt nicht, indem man einfach mit einem so genannt magereren Benzin-Luft-Gemisch fährt. Magerer bedeutet in diesem Zusammenhang, dass im Gemisch mehr Luft und weniger Benzin enthalten sind. Ein solches Gemisch ist schwerer entflammbar, neigt unter Verdichtungsdruck zu unkontrollierter Selbstentzündung und verbrennt mit höherer Temperatur. Als erstes Team löste Mercedes AMG dieses Problem mit einer Vorkammerzündung. Dabei ist der Brennraum in zwei Teile getrennt. In eine kleine Vorkammer wird Treibstoff eingespritzt. Diese Vorkammer ist über kleine Bohrungen mit dem Haupt-Brennraum verbunden. Es bildet sich in der Vorkammer ein angereichertes Gemisch (viel Benzin, wenig Luft), im Brennraum ein mageres Gemisch. Entflammt nun die Zündkerze das Gemisch in der Vorkammer, setzt brennendes Gemisch, das durch die Bohrungen in den Brennraum strömt, das abgemagerte Gemisch kontrolliert in Brand.
Werbung
Werbung
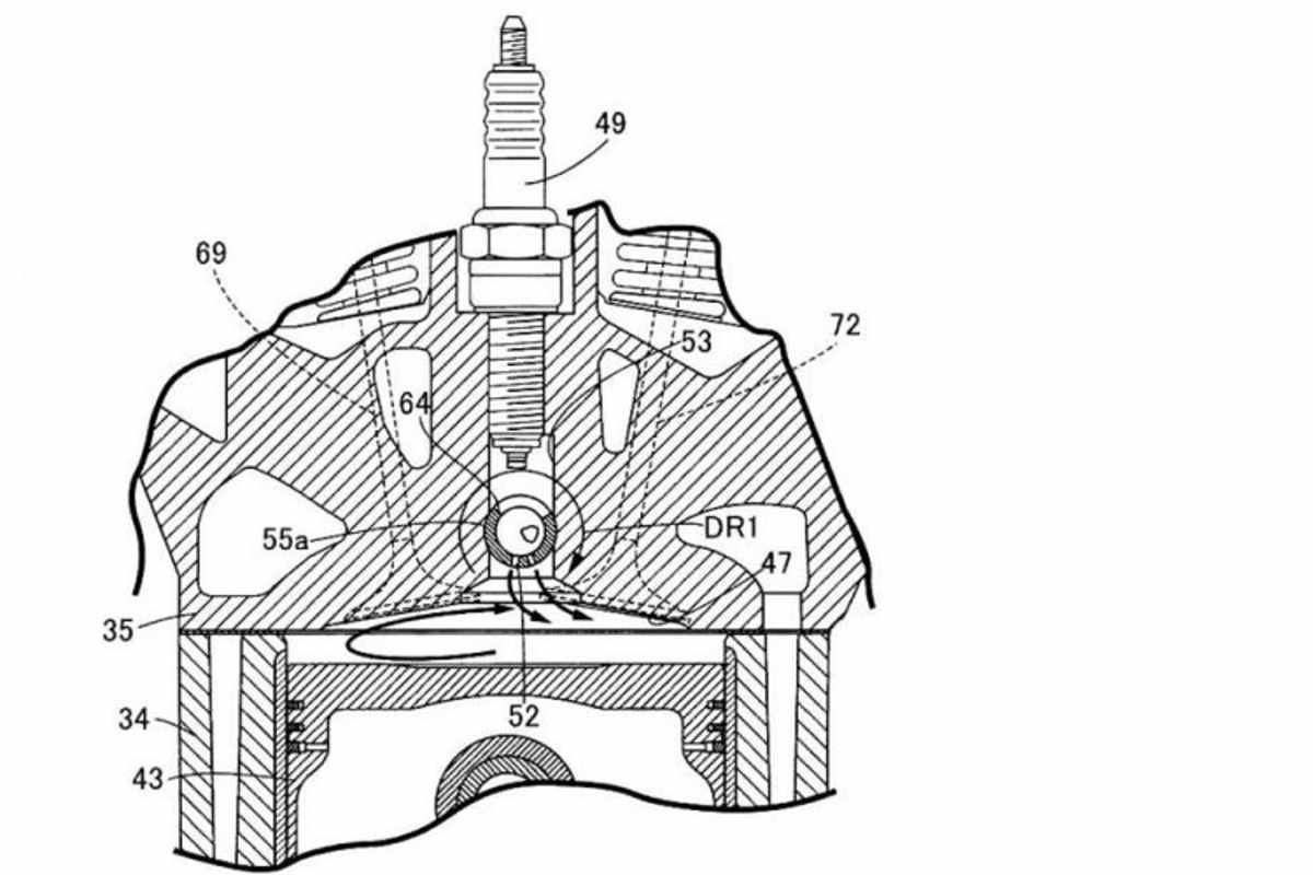
In Hondas Patentzeichnung ist die Vorkammer nicht durch Bohrungen, sondern durch einen rotierenden Hülsen- oder Walzendrehschieber vom Brennraum getrennt. Mit diesem Drehschieber kann das angereicherte und entflammte Gemisch zu einem genau definierten Zeitpunkt in den Brennraum eingebracht werden.
Alle MotoGP-Fans fieberten der Saison 2025 entgegen. Ein sensationeller Dreikampf mit Marc Marquez, Pecco Bagnaia und Jorge Martin war vorprogrammiert. Doch für zwei Piloten lief das Jahr komplett aus dem Ruder.
Weiterlesen
In Hondas Patent sind zwei Einspritzdüsen zu sehen, eine spritzt in die Vorkammer, die andere in den Brennraum ein. So lässt sich die Zusammensetzung des Gemischs in den beiden Kammern präzise kontrollieren. Die Ingenieure der Formel 1 würden das vielleicht auch so machen, doch das F1-Reglement lässt nur eine Einspritzdüse pro Zylinder zu.
In Hondas Patentzeichnungen ist ein Zylinderkopf mit zwei obenliegenden Nockenwellen, Schlepphebeln und Fallstromeinlass zu sehen – unverkennbar ein Hochleistungs-Sportmotor. Die Drehschieberhülse wird mit einem Zahnradsatz von der Nockenwelle angetrieben und ist mit einem Einlassfenster und mit kleinen Bohrungen versehen. Durch das Fenster gelangt Luft und eingespritztes Benzin in diese Vorkammer, durch die Bohrungen schiesst entflammtes Gemisch in den Brennraum. Mit diesem nicht unbeträchtlichen technischen Aufwand will Honda eine effizientere Verbrennung erreichen. Eine verbesserte Effizienz kann zur Erhöhung der Leistung oder zur Verminderung des Verbrauchs oder für beides genutzt werden.
Werbung
Werbung
Für den Strassenfahrer könnte diese Technik durch verminderten Verbrauch die Betriebskosten senken, ebenso ergibt sich eine Gewichtseinsparung, weil mit einem kleineren Tank die gleiche Reichweite möglich ist. Im Rennsport ist dank kontrollierter Verbrennung eines abgemagerten Gemischs eine Leistungssteigerung möglich bei gleichbleibender Benzinmenge. In der MotoGP sind 22 Liter, in der Superbike-WM 24 Liter Tankinhalt erlaubt.
Schon gesehen?
Verpassen Sie keine Highlights mehr: Der Speedweek Newsletter liefert Ihnen zweimal wöchentlich aktuelle Nachrichten, exklusive Kommentare und alle wichtigen Termine aus der Welt des Motorsports - direkt in Ihr E-Mail-Postfach
Weiterlesen

Themen
  • Produkte
    Speedweek.com - Der beste Motorsport im Netz
    Die aktuellsten News rund um die Uhr, von Experten analysiert und kommentiert und exklusive Einblicke hinter die Kulissen. Hier schreiben Fans für Fans.
    Berichte & Analysen
    Redaktion
    Serien