Mazda hat in den USA einen Motor zum Patent angemeldet, der zwar einen konventionellen Ventiltrieb aufweist, dank Kompressoraufladung pro Kurbelwellenumdrehung jedoch wie ein Zweitakter einmal zündet.
Welche Schreckens-Szenarien wir über die neue Formel 1 alle gehört hatten. Stattdessen haben wir in Australien einen unterhaltsamen Grand Prix erlebt. Wo stehen wir mit diesen neuen Rennwagen?
Weiterlesen
Werbung
Zweitaktmotoren werden nur noch in Nischenprodukten wie Geländemotorrädern und Rollern mit kleinem Hubraum verbaut, dazu in Karts, Motorsägen und Gartengeräten. Der Grund, warum dieses einfache Leichtbau-Motorenprinzip aus dem Automobil- und Motorradbau fast verschwunden ist, sind die strengen Abgasnormen, die heute fast weltweit in Kraft sind.
Werbung
Werbung
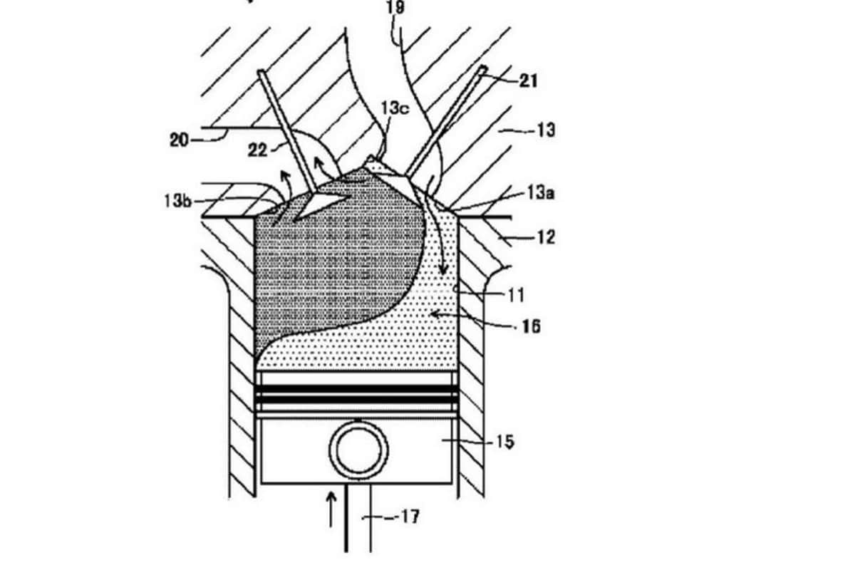
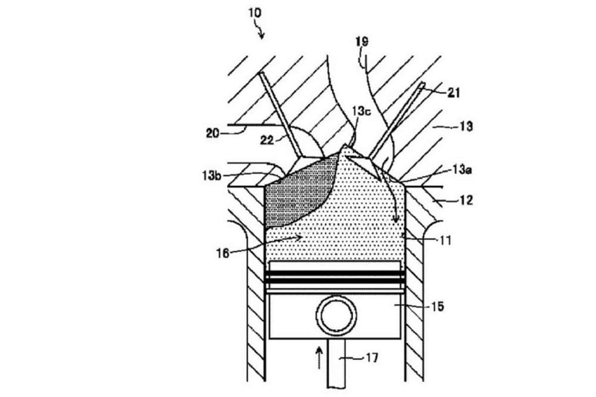
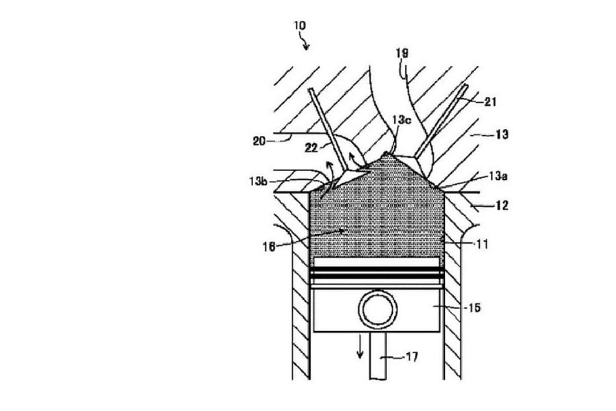
Weil beim konventionellen Zweitakter Pleuellager, Kolbenbolzen und Zylinderwand mit einer Verlustschmierung geschmiert werden, bei der das Schmieröl anschliessend verbrannt wird, lassen sich die heutigen Grenzwerte nicht oder nur mit Schwierigkeiten einhalten. Beim Mazda-Patent wird ein Viertaktmotor mit einem mechanisch angetriebenen Kompressor und Benzin-Direkteinspritzung ausgestattet. Mit einer Art Schichtladung will Mazda erreichen, dass vom Kompressor über das Einlassventil in den Brennraum gepresste Luft sich kaum mit den verbrannten Gasen des Arbeitstaktes vermischt, sondern diese über das Auslassventil aus dem Zylinder presst.
Damit kein unverbranntes Benzingemisch in den Auslass gelangt, wird erst bei geschlossenem Auslassventil Benzin direkt in den Brennraum eingespritzt. Jedes Mal, wenn der Kolben im oberen Totpunkt ist, wird gezündet. Es gibt also im Prinzip nur zwei Arbeitstakte, die jedoch ineinander übergehen: Abgase ausstossen/vorverdichtete Luft einströmen; Luft verdichten, Benzin einspritzen und zünden.
Werbung
Werbung
Wie das genau gehen soll, dass sich Abgas und einströmende Luft nicht vermischen, geht aus den Bildern der Patentschrift nicht hervor. Fast sicher ist: Mit der in den Zeichnungen abgebildeten, konventionellen Anordnung der Ventile und Kanäle dürfte das kaum gelingen.
Welche Schreckens-Szenarien wir über die neue Formel 1 alle gehört hatten. Stattdessen haben wir in Australien einen unterhaltsamen Grand Prix erlebt. Wo stehen wir mit diesen neuen Rennwagen?
Weiterlesen
Der Motor muss wohl mit Luftüberschuss betrieben werden. Der Kompressor bläst die verbrannten Gase aus dem Brennraum in den Auspuff. Naheliegend ist, dass der Motor mit sehr magerem Gemisch betrieben wird und sich dieses zumindest teilweise selbst entzündet. Die Zündkerze könnte nur bei niedrigen oder hohen Drehzahlen nachhelfen.
Der von Mazda zum Patent angemeldete Zweitaktmotor umgeht die Probleme mit der Schmierung elegant, indem das Gemisch nicht wie beim konventionellen Zweitakter über das Kurbelgehäuse in den Zylinder gelangt. Deshalb kann die Schmierung von Pleuellager, Kolbenbolzen und Zylinderwand wie bei einem Viertakter erfolgen.
Verpassen Sie keine Highlights mehr: Der Speedweek Newsletter liefert Ihnen zweimal wöchentlich aktuelle Nachrichten, exklusive Kommentare und alle wichtigen Termine aus der Welt des Motorsports - direkt in Ihr E-Mail-Postfach
Die aktuellsten News rund um die Uhr, von Experten analysiert und kommentiert und exklusive Einblicke hinter die Kulissen. Hier schreiben Fans für Fans.