Die Suzuki GSX-R dürfte auf 2020 überarbeitet werden. Wichtigste Neuheit dabei: Ein hydraulisch funktionierendes System für variable Ventilsteuerzeiten.
George Russell hat ein Problem, der Formel-1-Rennstall von Mercedes hat ein Luxus-Problem: Der 19-jährige Kimi Antonelli nimmt dem erfahrenen George Russell die Butter vom Brot.
Weiterlesen
Werbung
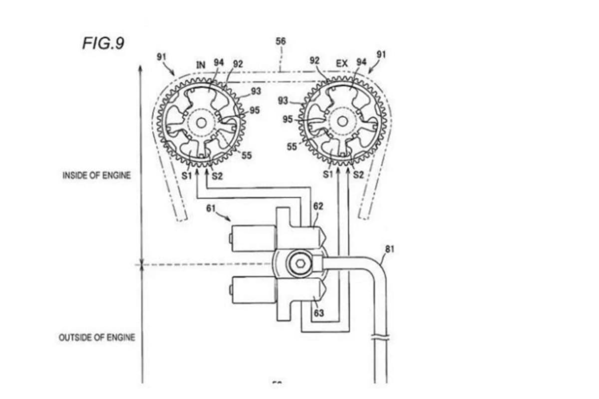
Durchgesickerte Patentzeichnungen, die sich im Internet verbreiteten, zeigen ein neues System für variable Ventilsteuerzeiten. Beim aktuellen Motor der Suzuki GSX-R 1000, der seit 2017 gebaut wird, sind nur die Steuerzeiten der Einlassventile variabel. Erreicht wird das durch einen bestechend einfachen Fliehkraft-Mechanismus im Antriebszahnrad der Einlass-Nockenwelle.
Werbung
Werbung
Patentzeichnungen zeigen ein hydraulisch funktionierendes System. Anders an der aktuellen BMW S 1000 RR werden nicht nur die Steuerzeiten der Einlassventile, sondern auch jene an den Auslässen variiert. Die elektronische/elektrische Ansteuerung der Hydraulikeinheit lässt eine Vielzahl von Möglichkeiten zu. So können, wie beim elektromechanischen System von BMW, die Steuerzeiten nicht nur in Abhängigkeit von der Motordrehzahl variiert werden. Weitere Faktoren wie Gagriffstellung, Gangwahl, Schräglage oder Wheelspin könnten in den Steueralgorithmus integriert werden. Ebenso können die Abgasemissionen beeinflusst werden, was uns daran erinnert, dass am 1. Januar 2020 verschärfte Normen namens Euro 5 in Kraft treten.
Fürderhin wird sich zeigen, ob Suzuki sich ermutigt fühlen wird, mit einer solcherart modernisierten GSX-R in die Superbike-WM zurückzukehren. In der Endurance-WM liegt Suzuki mit der GSX-R 1000 auf dem zweiten Zwischenrang. In der MotoGP sind variable Ventilsteuerzeiten durch hydraulische oder elektrische Betätigung verboten, weshalb Suzuki bei den MotoGP-Rennmaschinen beim bisher verwendeten System mit Fliehkraftbetätigung bleiben muss.
George Russell hat ein Problem, der Formel-1-Rennstall von Mercedes hat ein Luxus-Problem: Der 19-jährige Kimi Antonelli nimmt dem erfahrenen George Russell die Butter vom Brot.
Verpassen Sie keine Highlights mehr: Der Speedweek Newsletter liefert Ihnen zweimal wöchentlich aktuelle Nachrichten, exklusive Kommentare und alle wichtigen Termine aus der Welt des Motorsports - direkt in Ihr E-Mail-Postfach
Die aktuellsten News rund um die Uhr, von Experten analysiert und kommentiert und exklusive Einblicke hinter die Kulissen. Hier schreiben Fans für Fans.