Weiter zum Inhalt
Abo
Werbung
Werbung
Werbung
Werbung
  1. Start
  2. /
  3. Produkte
  4. /
  5. News
Werbung
BMW-Patent: Fussrasten ohne Werkzeug einstellbar
Die Idee ist so simpel, dass man sich fragt, warum da keiner früher drauf gekommen ist. Fussraste hochklappen, in Idealposition schieben, Fussraste wieder runterklappen – fertig!
Produkte
Werbung
Alle MotoGP-Fans fieberten der Saison 2025 entgegen. Ein sensationeller Dreikampf mit Marc Marquez, Pecco Bagnaia und Jorge Martin war vorprogrammiert. Doch für zwei Piloten lief das Jahr komplett aus dem Ruder.
Weiterlesen
Werbung
Einstellbare Fussrasten sind nichts Neues, doch bislang musste man zu Werkzeug greifen, um die Fussrasten abzuschrauben und dann an der gewünschten Position wieder zu fixieren. Das macht man in der Regel einmal nach dem Neukauf und beläst es dann, wie es ist.
Werbung
Werbung
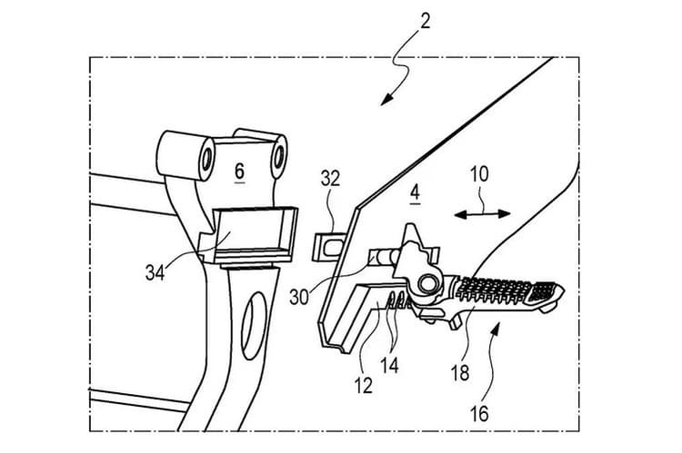
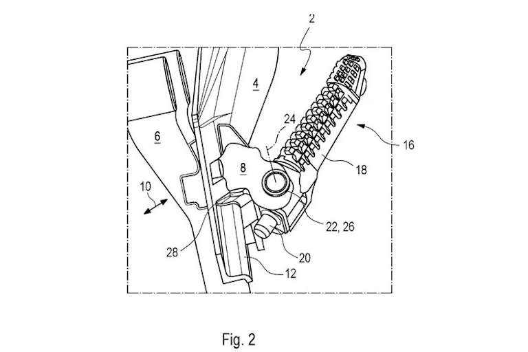
Beim Patent von BMW wird mit dem Hochklappen der Fussraste eine Verzahnung entriegelt, und man kann die Fussraste in einer Schiene hin- und herschieben. Mit dem Runterklappen der Fussraste wird diese Verzahnung wieder verriegelt, die Fussraste ist fixiert. Das ist schon alles. Auf die Idee kam man bei BMW bei der Entwicklung eines Elektromotorrads, weil bei so einem Motorrad die Bedienung von Hinterbremse und Schalthebel entfällt und die Fussrasten einzig dazu dienen, die Füsse abzustellen. Etwas komplizierter wird es dann doch, wenn so ein System an ein Motorrad mit Verbrennungsmotor mit der üblichen Fahrzeugbedienung angepasst werden soll, denn mit den Fussrasten müssen auch das Bremspedal und der Schalthebel verschoben werden. Das ist gemäss der Patentschrift grundsätzlich möglich, in der Patentzeichnung aber nicht dargestellt.
Werbung
Werbung
Damit liesse sich die Ergonomie in Sekundenschnelle an die Fahrergrösse anpassen, aber auch an den Einsatz des Motorrads. An Sportmotorrädern könnten für das Rennstreckentraining die Fussrasten nach hinten-oben geschoben werden, an Reise-Enduros für längere Geländefahrten nach unten. Zurück auf der Strasse verschafft sich der Sportfahrer einen entspannteren Kniewinkel, während sich der Fahrer der Reise-Enduro die volle Schräglagen-Freiheit zurückholt.
Alle MotoGP-Fans fieberten der Saison 2025 entgegen. Ein sensationeller Dreikampf mit Marc Marquez, Pecco Bagnaia und Jorge Martin war vorprogrammiert. Doch für zwei Piloten lief das Jahr komplett aus dem Ruder.
Weiterlesen
Zurück zur Anwendung bei einem Elektromotorrad, die BMW in der Patentschrift explizit erwähnt. Daraus eine Ankündigung abzuleiten, dass BMW demnächst ein Elektromotorrad auf den Markt bringt, wäre allzu spekulativ, wenngleich sich BMW die Modellbezeichnung "DC" für Elektromotorräder hat schützen lassen. Aber ganz offensichtlich denken sie bei BMW über ein Elektromotorrad nicht mehr nur im Rahmen von Konzepten nach, sondern befassen sich schon mit sehr konkreten Detaillösungen.
Schon gesehen?
Verpassen Sie keine Highlights mehr: Der Speedweek Newsletter liefert Ihnen zweimal wöchentlich aktuelle Nachrichten, exklusive Kommentare und alle wichtigen Termine aus der Welt des Motorsports - direkt in Ihr E-Mail-Postfach
Weiterlesen

Themen
  • Produkte
    Speedweek.com - Der beste Motorsport im Netz
    Die aktuellsten News rund um die Uhr, von Experten analysiert und kommentiert und exklusive Einblicke hinter die Kulissen. Hier schreiben Fans für Fans.
    Berichte & Analysen
    Redaktion
    Serien