Honda hat ein Patent eingereicht für Spoiler und Flügelchen, die an den Rückspiegeln von Motorrädern Abtrieb erzeugen sollen. Möglich, dass die neue Fireblade, Modell 2020, damit ausgerüstet ist.
Alle MotoGP-Fans fieberten der Saison 2025 entgegen. Ein sensationeller Dreikampf mit Marc Marquez, Pecco Bagnaia und Jorge Martin war vorprogrammiert. Doch für zwei Piloten lief das Jahr komplett aus dem Ruder.
Weiterlesen
Werbung
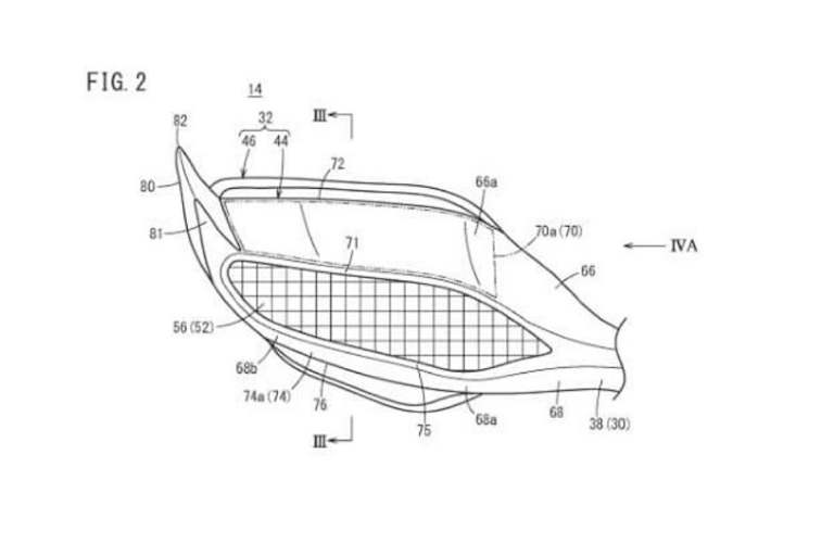
In den USA wurde ein Patent von Honda publiziert, das die Front und die Rückspiegel eines Supersport-Motorads zeigt. Die Spiegel, in die auch die Blinker eingebaut sind, sind bestückt mit Spoilern und Flügelchen, die bei schneller Fahrt Abtrieb erzeugen sollen.
Werbung
Werbung
Abtrieb an der Front von schnellen Motorrädern ist hochwillkommen, um der Tendenz der Entlastung des Vorderrades entgegenzuwirken. Autobahnbrenner dürfen sich über die neueste Innovation aus dem Hause Honda freuen. Auch auf schnellen Tourenmaschinen oder Reiseenduros wären solche Rückspiegel wohl eine gute Sache. Rundstreckenfahrer wird diese Neuerung eher kalt lassen. Für den Einsatz auf der Rennstrecke demontieren auch Hobbyfahrer die Rückspiegel und die darin eingebauten Blinker gleich mit.
Alle MotoGP-Fans fieberten der Saison 2025 entgegen. Ein sensationeller Dreikampf mit Marc Marquez, Pecco Bagnaia und Jorge Martin war vorprogrammiert. Doch für zwei Piloten lief das Jahr komplett aus dem Ruder.
Verpassen Sie keine Highlights mehr: Der Speedweek Newsletter liefert Ihnen zweimal wöchentlich aktuelle Nachrichten, exklusive Kommentare und alle wichtigen Termine aus der Welt des Motorsports - direkt in Ihr E-Mail-Postfach
Die aktuellsten News rund um die Uhr, von Experten analysiert und kommentiert und exklusive Einblicke hinter die Kulissen. Hier schreiben Fans für Fans.