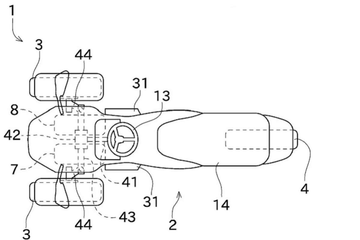
Kawasaki hat weitere Patentzeichnungen mit einem Motorrad und einem Roller mit Wasserstoff-Antrieb veröffentlichen. Die ungewollt beweisen, dass es nicht geht, weil Bauraum fehlt.
Seit 26. Januar laufen auf dem Circuit de Barcelona-Catalunya die Formel-1-Wintertests. Fans auf den Tribünen? Pustekuchen. Medien entlang der Bahn? Unerwünscht. Die Formel 1 spielt Verstecken. Wieso?
Weiterlesen
Werbung
Wasserstoff kann in einem konventionellen Verbrennungsmotor als Treibstoff verwendet werden. Als Abgas wird fast nur Wasserdampf ausgestossen. Auf den ersten Blick die einfachste Lösung, um die bestehende Technologie weiter zu verwenden und obendrauf umweltfreundlicher zu betreiben.
Werbung
Werbung
Das Grundproblem ist die geringere Energiedichte von Wasserstoff im Vergleich zu Benzin. Zwar enthält ein Kilo Wasserstoff fast dreimal so viel Energie wie ein Kilo Benzin. Nur hat ein Kilo gasförmiger Wasserstoff ein Volumen von 11 Kubikmetern oder 11.000 Litern. Um die Energie von einem Liter Benzin in Form von unkomprimiertem, gasförmigen Wasserstoff zu speichern, braucht man einen Tank von 3600 Litern. Die praktikable Lösung: Der gasförmige Wasserstoff muss mit so hohem Druck komprimiert werden, dass er flüssig wird. In der Industrie gebräuchlich ist ein Druck von 700 bar, mit dem ein Kilo Wasserstoff auf ein Volumen von 25 Litern komprimiert wird. Umgekehrt gerechnet: In einem hochdruckfesten Behälter von 25 Litern befindet sich ein Kilo flüssiger Wasserstoff oder die Energie von drei Kilo oder 3,8 Litern Benzin.
Wegen des hohen Drucks von 700 bar können Drucktanks nicht in beliebiger Form gebaut werden. Ideal, aber im Handling unpraktisch wären kugelförmige Tanks. In der Praxis werden für mobile Anwendungen wie etwa in Automobilen zylinderförmige Drucktanks des so genannten Typ 3 verwendet, gefertigt aus Aluminium mit zusätzlicher Ummantelung aus Kohlefaser.
Werbung
Werbung
Damit ein Roller eine übliche Reichweite aufweist, müsste man zwei solcher Hochdruckbehälter mit je 25 Litern Volumen unterbringen, im Motorrad deren drei oder vier oder zwei mit je 50 Litern Inhalt. Das erklärt, warum Motorräder oder Roller mit Wasserstoff als Treibstoff klobige, plumpe Fahrzeuge sind.
Seit 26. Januar laufen auf dem Circuit de Barcelona-Catalunya die Formel-1-Wintertests. Fans auf den Tribünen? Pustekuchen. Medien entlang der Bahn? Unerwünscht. Die Formel 1 spielt Verstecken. Wieso?
Weiterlesen
Der Vollständigkeit halber sei auch noch das zweite Problem erwähnt. Wasserstoff kann aus Wasser mittels Elektrolyse umweltfreundlich produziert werden. Vereinfacht gesagt werden Minus- und Pluspol einer elektrischen Energiequelle ins Wasser getaucht, wodurch dieses aufgespalten wird in Wasserstoff und Sauerstoff. Allerdings ist dieses Verfahren höchst ineffizient. Um ein Kilo Wasserstoff zu erzeugen, werden rund 60 kWh elektrische Energie benötigt – fast die doppelte Energiemenge, die dann in diesem Kilo Wasserstoff enthalten ist.
Verpassen Sie keine Highlights mehr: Der Speedweek Newsletter liefert Ihnen zweimal wöchentlich aktuelle Nachrichten, exklusive Kommentare und alle wichtigen Termine aus der Welt des Motorsports - direkt in Ihr E-Mail-Postfach
Die aktuellsten News rund um die Uhr, von Experten analysiert und kommentiert und exklusive Einblicke hinter die Kulissen. Hier schreiben Fans für Fans.