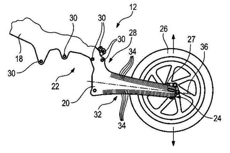
Im Internet sind Patentzeichnungen von BMW aufgetaucht, die einen Karbonrahmen samt Schwinge zeigen. Das Bauteil besteht aus einem Stück, einen Schwingendrehpunkt gibt es nicht.
Seit 26. Januar laufen auf dem Circuit de Barcelona-Catalunya die Formel-1-Wintertests. Fans auf den Tribünen? Pustekuchen. Medien entlang der Bahn? Unerwünscht. Die Formel 1 spielt Verstecken. Wieso?
Weiterlesen
Werbung
Chassis, die aus einem Stück bestehen und Motor und Hinterrad aufnehmen gibt es schon lange. Man nennt es Starrahmen. Die Patentzeichnung von BMW hat jedoch damit nicht allzu viel gemein.
Werbung
Werbung
Mit Kohlefaserlaminat kann durch entsprechende Wahl der Materialstärke und –struktur Steifigkeit in ein Werkstück in eine und Elastizität in die andere Richtung eingebaut werden. So könnte die aus dem Hauptrahmen herauswachsende Schwinge auf Querkräfte stabil und auf Längskräfte flexibel ausgelegt werden. Das würde eine beschränkte Elastizität und somit eine Federbewegung des Hinterrads zulassen. So utopisch wie sich das anhört ist es auch wieder nicht, im Automobilrennsport kommt dieses Prinzip heute schon zur Anwendung. Eine solche Konstruktion würde die Schwingenlagerung wie auch die Federung einsparen. Nicht verzichtet werden könnte auf eine Kontrolle der Federbewegung durch einen hydraulischen Dämpfer.
Grosse Federwege wären mit dieser Konstruktion nicht möglich, beschränkte Federwege wie für einen Cruiser hingegen schon, in diesem Fall verbunden mit einer Starrahmen-Optik. Oder BMW landet vier Jahre nach der HP4 Race mit Karbonrahmen einen weiteren Paukenschlag im Segment der exklusiven Supersportmotorräder.
Seit 26. Januar laufen auf dem Circuit de Barcelona-Catalunya die Formel-1-Wintertests. Fans auf den Tribünen? Pustekuchen. Medien entlang der Bahn? Unerwünscht. Die Formel 1 spielt Verstecken. Wieso?
Verpassen Sie keine Highlights mehr: Der Speedweek Newsletter liefert Ihnen zweimal wöchentlich aktuelle Nachrichten, exklusive Kommentare und alle wichtigen Termine aus der Welt des Motorsports - direkt in Ihr E-Mail-Postfach
Die aktuellsten News rund um die Uhr, von Experten analysiert und kommentiert und exklusive Einblicke hinter die Kulissen. Hier schreiben Fans für Fans.