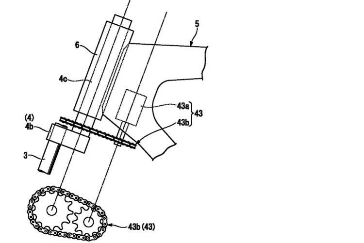
Patentzeichnungen von Honda zeigen ein System, das elektromechanisch in die Lenkung eines Motorrads eingreift. Das ermöglicht unter anderem einen Eingriff in die Lenkung, um einen Unfall zu vermeiden.
Noch fehlen viele Unterschriften auf den Verträgen für 2027. Und doch lässt sich ein konkretes Bild der Königsklasse im Jahr 1 mit 850 ccm zeichnen. Etliche Transfers von Topfahrern gelten als sicher.
Weiterlesen
Werbung
Auf den Patentzeichnungen ist eine etwas archaisch anmutende Mechanik zu sehen, die aktiv in die Lenkung eingreift. Ein hinter dem Lenkkopf montierter Elektro-Stellmotor betätigt über einen Kettenantrieb die Lenkung.
Werbung
Werbung
Damit geht Honda einen Schritt weiter als aktuell Ducati und BMW. Diese beiden Hersteller bringen derzeit Motorräder auf den Markt, die mit einem so genannten Abstands-Tempomaten ausgerüstet sind. Dabei hält das Motorrad durch beschleunigen und verzögern selbsttätig den Abstand zu einem vorausfahrenden Fahrzeug. Gesteuert wird so ein Tempomat von einem Radar (Aussendung und Empfang von reflektierten elektromagnetischen Wellen). Honda geht nun einen Schritt weiter und greift aufgrund der Radar-Daten nicht nur auf Drosselklappen und Bremsen zu, sondern auch auf die Lenkung. Das ermöglicht es, den im Automobilbau üblichen Spurassistenten auch auf dem Motorrad einzuführen. Darüber hinaus könnte dieses System auch Ausweichmanöver fahren, um Unfälle zu verhindern. Auch eine Servofunktion ist denkbar.
Um basierend auf dieser Technologie selbstfahrende Motorräder zu verwirklichen, müsste statt nur mit Radar das Verkehrsgeschehen wohl zusätzlich mit Kameras erfasst werden. Wer befürchtet, dass uns die Hersteller den Lenker aus der Hand nehmen, kann beruhigt sein. Bis selbstfahrende Motorräder angeboten werden, sind noch viele Fragen zu klären. Nicht nur technische, sondern auch rechtliche.
Noch fehlen viele Unterschriften auf den Verträgen für 2027. Und doch lässt sich ein konkretes Bild der Königsklasse im Jahr 1 mit 850 ccm zeichnen. Etliche Transfers von Topfahrern gelten als sicher.
Verpassen Sie keine Highlights mehr: Der Speedweek Newsletter liefert Ihnen zweimal wöchentlich aktuelle Nachrichten, exklusive Kommentare und alle wichtigen Termine aus der Welt des Motorsports - direkt in Ihr E-Mail-Postfach
Die aktuellsten News rund um die Uhr, von Experten analysiert und kommentiert und exklusive Einblicke hinter die Kulissen. Hier schreiben Fans für Fans.